下一代Studio Display预定,苹果正探索曲面屏显示器:还配防窥膜
IT之家 2 月 2 日消息,根据美国商标和专利局近日公示的清单,苹果公司获得了一项关于显示器的相关专利,暗示下一代 Studio Display 会采取曲面屏设计。
图源:LG美国商标和专利局于 2023 年批准了类似的专利,而本次再次获批表明苹果公司正在积极探索曲面显示器,而且不断迭代。

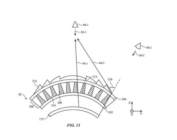
本次获批的专利并不仅仅是介绍如何制造曲面屏,更重要的是介绍了“隐私薄膜”设计,通过附加保护膜,确保只有屏幕正前方用户能清晰看到相关内容。


这就像偏振膜一样,意味着光线只能从一个方向射出。因此,当用户坐在屏幕前的正确位置时,他们能看到视网膜质量和亮度完全一致的显示屏。
如果有人试图从左侧或右侧看过去,要么什么也看不到,要么图像模糊不清。这并不能阻止任何人站在用户身后偷看。
IT之家附上专利摘要如下:“隐私膜可以有一个阻光层,夹在第一和第二透明基板之间。不透明部分的形状可以确保显示屏的光线只射向显示屏的主要观看者”。
发布于:山东
相关推荐
下一代Studio Display预定,苹果正探索曲面屏显示器:还配防窥膜
苹果发布第三个 Studio Display 17 固件测试版
Gurman:苹果将发布新款 Mac Studio、iOS 生态显示器等产品
苹果重启显示器业务,瞄准的是超高端市场
消息称苹果叫停27英寸mini-LED显示器项目
最多外接8台4K显示器,苹果公布新款 Mac Studio 和 Mac Pro 文档
iPhone将自带“防窥”模式?
LG Display屏幕量产问题已解决,iPhone 15 系列面板备货量超前代
苹果显示器,连电源线都不能拔?
消息称苹果正为Mac开发新的外部显示器,可兼作智能家居显示器
网址: 下一代Studio Display预定,苹果正探索曲面屏显示器:还配防窥膜 http://www.xishuta.com/newsview107404.html
推荐科技快讯
- 1问界商标转让释放信号:赛力斯 95792
- 2报告:抖音海外版下载量突破1 25736
- 3人类唯一的出路:变成人工智能 25175
- 4人类唯一的出路: 变成人工智 24611
- 5移动办公如何高效?谷歌研究了 24309
- 6华为 nova14深度评测: 13155
- 7滴滴出行被投诉价格操纵,网约 11888
- 82023年起,银行存取款迎来 10774
- 9五一来了,大数据杀熟又想来, 9794
- 10手机中存在一个监听开关,你关 9519
